Product Summary
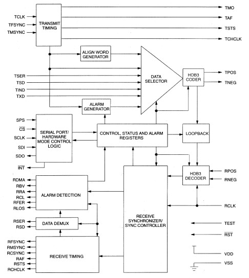
The DS2181A cept primary rate transceiver is designed for use in CEPT networks and supports all logical requirements of CCITT Red Book Recommendations G.704, G.706 and G.732. The transmit side generates framing patterns and CRC4 codes, formats outgoing channel and signaling data, and produces network alarm codes when enabled. The receive side decodes the incoming data and establishes frame, CAS multiframe, and CRC4 multiframe alignments. Once synchronized, the DS2181A extracts channel, signaling, and alarm data.
Parametrics
DS2181A absolute maximum ratings: (1)Voltage on Any Pin Relative to Ground: -1.0V to +7.0V; (2)Operating Temperature: 0° to 70℃; (3)Storage Temperature: -55℃ to +125℃; (4)Soldering Temperature: 260℃ for 10 seconds.
Features
DS2181A features: (1)Single chip primary rate transceiver meets CCITT standards G.704, G.706 and G.732; (2)Supports new CRC4-based framing standards and CAS and CCS signaling standards; (3)Simple serial interface used for device configuration and control in processor mode; (4)Hardware mode requires no host processor; intended for stand-alone applications; (5)Comprehensive, on-chip alarm generation, alarm detection, and error logging logic; (6)Shares footprint with DS2180A T1 Transceiver; (7)Comparison to DS2175 T1/CEPT Elastic Store, DS2186 Transmit Line Interface, DS2187 Receive Line Interface, and DS2188 Jitter Attenuator; (8)5V supply; low-power CMOS technology.
Diagrams

| Image | Part No | Mfg | Description | ![]() |
Pricing (USD) |
Quantity | ||||||||||||
|---|---|---|---|---|---|---|---|---|---|---|---|---|---|---|---|---|---|---|
![]() |
![]() DS2181A |
![]() Maxim Integrated Products |
![]() Network Controller & Processor ICs CEPT Primary Rate Transceiver |
![]() Data Sheet |
![]()
|
|
||||||||||||
![]() |
![]() DS2181A+ |
![]() Maxim Integrated Products |
![]() Network Controller & Processor ICs CEPT Primary Rate Transceiver |
![]() Data Sheet |
![]()
|
|
||||||||||||
![]() |
![]() DS2181AN |
![]() Maxim Integrated Products |
![]() Network Controller & Processor ICs CEPT Primary Rate Transceiver |
![]() Data Sheet |
![]()
|
|
||||||||||||
![]() |
![]() DS2181AQ/T&R |
![]() Maxim Integrated Products |
![]() Network Controller & Processor ICs CEPT Primary Rate Transceiver |
![]() Data Sheet |
![]()
|
|
||||||||||||
![]() |
![]() DS2181AQ+ |
![]() Maxim Integrated Products |
![]() Network Controller & Processor ICs CEPT Primary Rate Transceiver |
![]() Data Sheet |
![]()
|
|
||||||||||||
![]() |
![]() DS2181AQ+T&R |
![]() Maxim Integrated Products |
![]() Network Controller & Processor ICs CEPT Primary Rate Transceiver |
![]() Data Sheet |
![]()
|
|
||||||||||||
![]() |
![]() DS2181AQN |
![]() Maxim Integrated Products |
![]() Network Controller & Processor ICs |
![]() Data Sheet |
![]() Negotiable |
|
||||||||||||
![]() |
![]() DS2181AQN/T&R |
![]() Maxim Integrated Products |
![]() Network Controller & Processor ICs CEPT Primary Rate Transceiver |
![]() Data Sheet |
![]()
|
|
||||||||||||
(China (Mainland))












